The question still lingers: Does Apple intend to produce its own car? If the latest patent published is any indication, it would appear so.
That’s because the patent is for a critical bit of engineering of any car. Patently Apple first discovered Apple’s latest filing with the United States Patent and Trademark Office for its very own vehicle suspension. The patent was filed two years ago, but the USPTO only published the documents and made them public on Tuesday.

Apple CEO Tim Cook
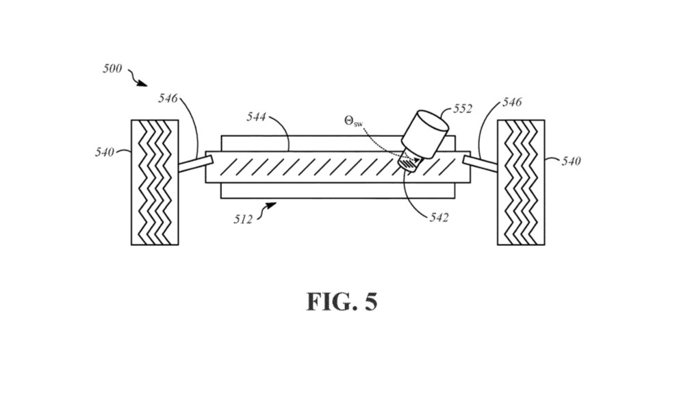
The patent’s language is full of engineering jargon, but the basic idea is for a steer-by-wire configuration that could be used by an autonomous car. The main points in the patent include a suspension component that connects the frame and steering wheel, and a steering knuckle to define the steering axis. This would also create a caster inclination angle of zero, which would provide virtually no steering feel and lack the self-correcting tendency for steering systems to come back to center after a turn. Most automotive steering systems have a positive caster angle, but it wouldn’t matter if Apple’s system lacked feel or tended to wander as an autonomous car driven by a steer-by-wire system could make those corrections and not care about feel. Apple also believes this setup could lead to the use of smaller and lighter components that make up the bones of the entire suspension.
Apple also believes the steer-by-wire system could reduce tire wear. The reduction may come from less tire scrubbing when the wheels are turned via the steering wheel and overall better directional stability with the steer-by-wire system. In short, Apple thinks this design may be simpler, lighter, and provide a few benefits surrounding tire wear and steering inputs/outputs.

Apple steer-by-wire patent drawing
As Cult of Mac reported, it’s worth noting a few of the key players mentioned in the patent no longer work for Apple. Many of them have since moved on to other companies such as Waymo and Lucid Motors. However, the patent still stands and the technology company clearly pursued it through publishing.
A company like Apple files patents all the time and this one was first sent to the USPTO two years ago before it received approval this week. Often times, companies have no intention to use the patent, and Apple’s goals with its Project Titan have surely changed since this patent was submitted. Still, Apple has has consistently filed automotive-related patents for the last few years, so Project Titan could still be in the works.
—Senior Editor Kirk Bell contributed to this report