Drive modes are nothing new, but BMW may go for more detailed customization in future performance EVs.
First spotted by CarBuzz, a recent patent application filed with the United States Patent and Trademark Office (USPTO) goes beyond current drive modes, allowing drivers to tailor things like throttle mapping and torque delivery to dramatically change the behavior of a car.
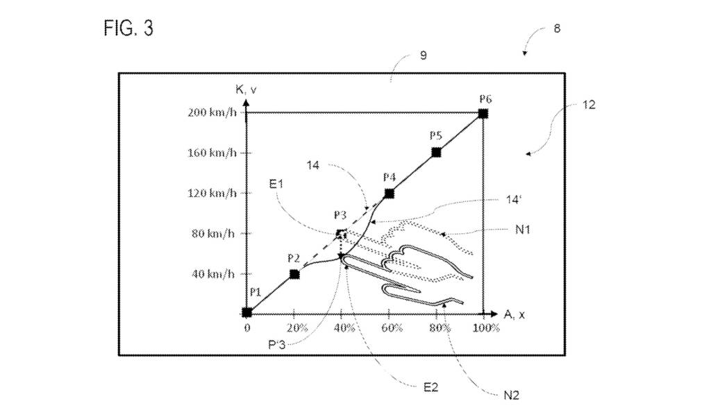
Instead of a limited number of modes like Sport and Eco with fixed settings, this system would give drivers a graph from which they could choose custom settings, according to the application. It takes advantage of the greater flexibility of electric motors, which can be powered up or down in a linear fashion, like a dimmer switch. And because most electric powertrains use single-speed gearboxes, vehicle speed more directly correlates to accelerator-pedal position.
Taking advantage of those qualities, BMW’s proposed system is based around acceleration and speed curves. The acceleration curve is similar to the throttle mapping used in current internal-combustion cars, and the speed curve equalizes a certain pedal position to a certain speed. Both can be adjusted by dragging the curve line along a graph displayed on a vehicle’s touchscreen, per the application, which also suggests that BMW’s Hans Zimmer-designed EV sounds could shift depending on these adjustments.
BMW tailored EV drive mode patent image
As CarBuzz notes, there are a few potential benefits to this system. By choosing non-linear speed or acceleration curves, drivers could mimic the behavior of an internal-combustion car, temporarily disabling the flat torque curve inherent to an electric motor in favor of the peaks and valleys of a gasoline engine’s torque curve. Cars could also be programmed to accelerate more gradually than they would otherwise, providing a safety net for novice drivers or those not used to the power or sudden acceleration of performance EVs.
Patented ideas don’t always make it to production, but we know that BMW is planning electric M cars. It already sells the iX M60 and i4 M50, and recently showed the 650-hp i7 M70. It has also teased models with more extensive upgrades, including a four-motor drivetrain.


