Hyundai’s Genesis luxury brand is diluting a plan to go all-electric, according to a recent…
It’s never been cheaper to get behind the wheel of a Ford Mustang Mach-E. Ford…
The redesigned Toyota Land Cruiser SUV returns to the U.S. as a smaller, less expensive…
The Volkswagen ID.7 is getting a wagon variant for Europe, but this new model hasn’t…
Cadillac didn’t offer a factory station wagon in 1969, but if you were a deep-pocketed…
General Motors has designed foldable bed ramps that could make loading motorcycles, ATVs, or lawnmowers…
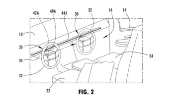
Ford is looking to turn steering wheels into grab handles to help people get into…
Car shoppers’ lack of experience with EVs is still holding back adoption, a new Consumer…
High inflation may be dragging on but it’s never been cheaper to buy a Lucid…
Stellantis on Wednesday unveiled the redesigned Lancia Ypsilon hatchback—the historic Italian brand’s first EV. This…