Automakers tend to quote a figure often: That about 85% of EV drivers charge at…
Porsche’s CEO confirmed plans for an electric 718 in 2022 and prototypes for the car…
The 2024 Formula 1 World Championship got underway on Saturday with the Bahrain Grand Prix…
Which major automaker might be partnering with Fisker for an electric pickup? Should EV charging…
Fisker is in talks with an unnamed “large automaker” for a potential investment, development of…
Mitsuoka will put its M55 concept into production, the Japanese car customizer and coachbuilder announced…
Ford led the industry last year in announcing a shift to the Tesla charge port…
Several EVs earned high marks from the Insurance Institute for Highway Safety (IIHS) for 2024,…
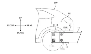
Honda wants to build extra storage space into EV bumpers for deliveries. A patent application…
It was at the 1984 Geneva auto show where Ferrari first unveiled the 288 GTO,…