Cadillac is committed to selling only electric vehicles by the end of the decade, and…
Chevrolet’s 2024 Silverado EV Work Truck that launches this spring with a 450-mile EPA-rated range…
While just about everyone can appreciate a pristine Bel Air, a barn-find Mustang Mach 1, or…
Forget Taco Tuesday. The near once-in-a-decade launch of the redesigned Toyota Tacoma has made it…
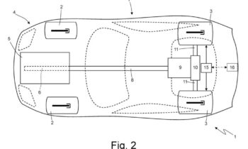
Ferrari has used rear-wheel steering on some of its recent models to improve handling, but…
Toyota has been quietly studying the mid-size truck competition and preparing a large offensive. On…
It took Toyota nearly 15 years to deliver a new Toyota Sequoia, and what it’s…
The Rimac Nevera has set nearly two dozen new performance records, including a 0-60 mph…
Lexus has continued to refine the LC since the sports car’s 2018 introduction, and the…
JLR (formerly Jaguar Land Rover) redesigned the Range Rover for 2022, and the automaker has…