
GM patents new tech for twin-scroll turbocharger system
Enlarge Photo
General Motors is working on some slick new technology that should give twin-turbocharged engines a bit of a boost. According to Motor Trend, the main meat of this patent news is related to how the exhaust gases are routed to each turbocharger. It’s designed for simplicity.
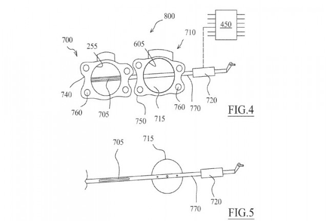
When you have a twin-scroll turbocharger setup, your exhaust gas is diverted to feed the appropriate turbocharger at a given time. A smaller turbo can spool up quickly while a larger turbo can create greater power once it’s up to speed. You’ll need a pair of actuators to open and close valves to get the air flowing where you want it to go.
With the new GM patent, the tech here only needs a single actuator. The valving for each turbocharger sits on a single spindle. When the valve for one turbo is opened, it automatically closes the valve on the other. This single actuator, spindle, and valve pair controls the airflow for both turbochargers and makes for a simpler system with fewer parts to control.
Optimization of the exhaust flow is the goal here, and this smart setup should help the engineers quite a bit. There’s no word yet on what engines and vehicles will use this new tech. With a pair of turbos at work, though, we wouldn’t be surprised to find this setup chugging along in something with six cylinders.
_______________________________________
Follow Motor Authority on Facebook and Twitter.