The Tesla Cybertruck has a very large windshield. And while it might be coincidence, it so happens that Tesla has been paying more than the usual attention this year to advanced technology that keeps windshields clean.
One of these pieces of technology might include a laser-based system. Such a system, as detailed in a range of possibilities too wide to actually surmise what Tesla’s working on, would first detect debris—possibly with cameras and image processing—and then use a blast of lasers at just the right pulsation frequency to clean off the glass.

Tesla glass-cleaning lasers
The beam could be located just below the hood or tucked below a portion of the hood, and would be used for all kinds of spills and grime beyond snow and mud.
The system, the patent explains, would “adaptively irradiate a region on the glass article by the laser beam at a calibrated pulse rate.”
Such a system may be especially useful to keep glass clean and make Tesla’s Autopilot system, which is heavily dependent on cameras and image processing itself, useful over a wider set of operating conditions.
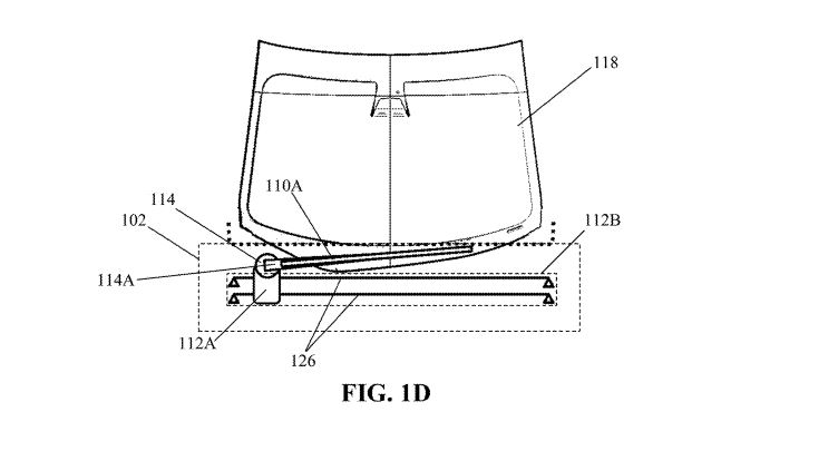
Another patent, for an electromagnetic wiper system, is something that at first look appears more likely to happen soon in a production vehicle, like the Cybertruck, which lacks windshield wipers—as well as doorsills, side mirrors, and various other things that might normally be seen on a production-bound vehicle.

Tesla electromagnetic wiper patent

Tesla electromagnetic wiper patent

Tesla electromagnetic wiper patent
With it, there’s a single wiper for the whole windshield. Instead of the traditional rotary mechanisms and dual arms, there would be tracks at the top and bottom of the windshield, with electromagnets within. Those electromagnets would pull the wiper back and forth.
The system could potentially clean the windshield with more even pressure—again making it easier for cameras placed around the periphery of the windshield, and perhaps bringing aerodynamic advantages to the Cybertruck, where aero might be fouled by adding something like wiper arms to the very large, flat windshield.
As the filing suggests, the system has the capability to save energy. If it can do that while adding to the styling and increasing safety, that’s a win-win.