Gravity, a New York-based EV charging startup backed by Google Ventures, claims to be rolling…
Kia has been spotted testing a midsize pickup truck due on sale next year and…
California’s Karma Automotive is gearing up to launch a pair of high-performance electric vehicles in…
The 2024 Dodge Charger Daytona is not like other electric vehicles. The three- and five-door…
While many automakers have given up on their earlier ambitions to develop their own self-driving…
The redesigned 2025 Infiniti QX80 will use a 3.5-liter twin-turbocharged V-6 in place of the…
Hyundai on Monday revealed an updated version of its Ioniq 5 electric compact crossover. The…
California’s Karma Automotive used this past weekend’s 2024 Amelia Island Concours d’Elegance to debut the…
The updated 2025 Honda Pilot three-row crossover SUV arrives at dealer lots now with an…
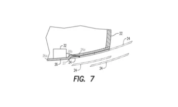
Honda has filed a patent application for an active diffuser that would deploy only when…