Apple remains quiet about any plans for self-driving cars, but it continues to file patents that clue us into what the technology company is interested in.
A new patent revolves around detecting speed and behavior at a self-driving car’s tires. Essentially, it’s a new process that could give a self-driving car a clearer picture of how fast it is traveling and how much steering input is needed for a particular situation. Think cases where a computer calculates enough steering input to the tires for a regular corner, but in this case, snow or ice means it needs more input.
Apple Insider first reported on the patent this Tuesday, but the patent itself was filed nearly three years ago in July 2016 with the United States Patent and Trademark Office.
Apple patent for new self-driving car sensors
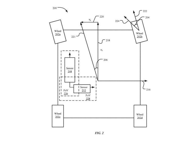
The technology company’s system works with current technologies such as inertial sensors and GPS, though Apple alludes neither of these two current systems are perfect for self-driving cars. Instead, its patented system proposes two sensors on the bottom of a vehicle that measures reflected electromagnetic waves to understand vehicle speed. These “Doppler slopes” can also measure tire angle and alert the self-driving system to unexpected movements that could be caused due to poor weather or other conditions.
The sensors then feed the information to the self-driving car, which can cross-check the data with inertial sensors and GPS.
Apple patent for new self-driving car sensors
The patent includes a second version that also includes sensors that point at an angle ahead of the vehicle. This version would capture data for longitudinal and lateral velocities as well as the data from the sensors underneath the self-driving car. All of the data is once again cross-checked with other data collection methods to make the self-driving car smarter in its input decisions.
As we always say, companies file for numerous patents often, and Apple itself files patents on a weekly basis. We may not ever see a production version of this system, but clearly, Apple has self-driving cars on its mind.

