A series of recent Ford patent filings show how the company might make vehicle interiors…
The EPA is expected to propose stricter emissions rules that would ensure more than half…
As the auto industry awaits an EPA proposal for the next round of emissions rules…
Walmart plans to build its own EV fast-charging network, in what reads as an aspiration…
Hyundai this week, at the New York auto show, revealed U.S.-spec details for the redesigned…
Ram used this week’s 2023 New York auto show to spill all the details on…
The Toyota RAV4 Hybrid has set the bar for hybrid crossovers since it launched for…
In a presentation to investors this week, Kia announced plans to boost its EV sales…
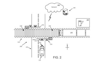
A new Ford patent filing has surfaced that hints at a driver-assist system designed to…
GMC this week announced a handful of updates for its 2024 Sierra 1500 full-size pickup,…