A series of recent Ford patent filings show how the company might make vehicle interiors reconfigurable for work or rest.
Three patent applications published recently by the United States Patent and Trademark Office (USPTO) show how a deployable desk could be integrated into vehicle dashboards, and how interiors can be reconfigured to be more comfortable when not driving.
Ford deployable desk patent image
One document, titled “Deployable Vehicle Desk,” shows a flat surface that is stowed in a recess in the underside of the dashboard. When in use, it pops out of the center of the dashboard on hinges. This doesn’t seem like it would work with a conventional center console, which would likely get in the way of the desk. The console could be eliminated, or replaced with a lower-lying version as in the Ford Mustang Mach-E.
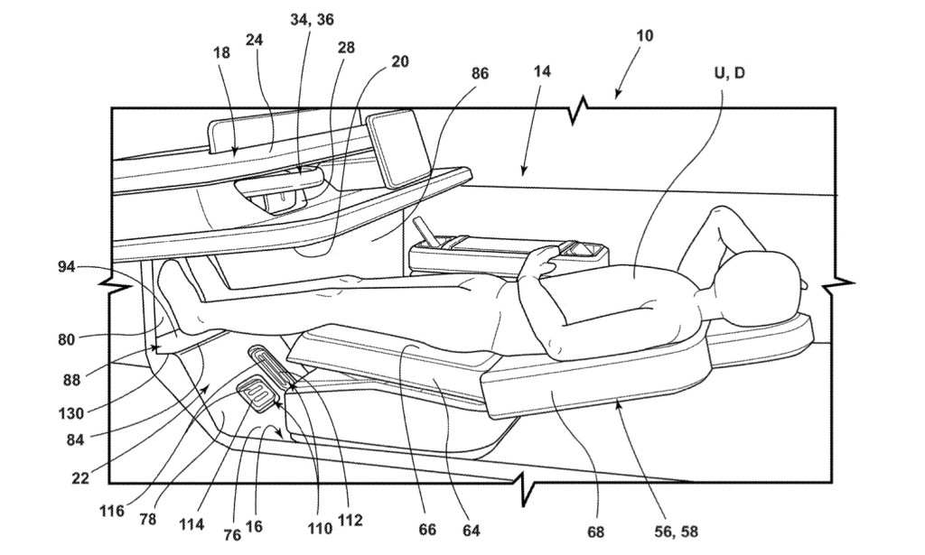
Two additional patent applications, both titled “Vehicle Interior Systems,” are aimed more at napping than working. They describe retractable steering wheels and pedals, which make room for reclining seats and footrests that create a compact sleeping area, similar to the fold-flat seats in business-class airline cabins. The patents show lay-down seats for both the driver and front passenger.
Ford vehicle interior system patent image
Ford already offers fold-flat seats, as a well as a folding shifter that turns the center console into a flat work space, in the current F-150 pickup. The ideas described in these patent filings could be Ford’s way of taking those features to the next level. Note that the automaker has also filed a patent application for fold-flat-seats in a pickup with a midgate, creating even more sleeping space.
It’s worth noting that patented ideas don’t always make it to production, and Ford has plenty of those in the works right now. Other recently published Ford patent filings include tech to make railroad crossings safer and to enable EVs to do four-wheel burnouts.

