Ford has filed a patent application for a cargo bed extension system that could allow pickup trucks to carry longer items when needed.
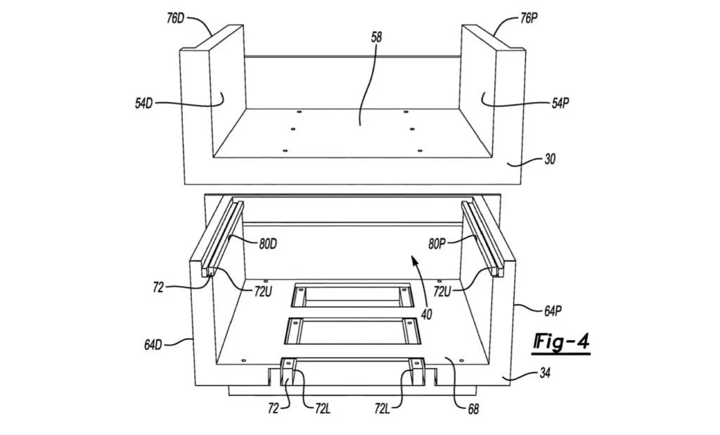
In the application—which was published by the United States Patent and Trademark Office (USPTO) on Nov. 16, but filed in May of last year—Ford discusses separating the cargo bed into two elements. Outer walls would attach to the frame as in a conventional pickup, with a tub placed between them that could slide fore and aft on rails.
This inner tub would essentially form the cargo box of the truck. The tailgate would attach to the rear end of the tub, rather than the bed sides. At the front, a folding panel would cover the floor space between the tub and the cab wall when the tub is in its extended position.
This is a distinct patent from the one described in a group of four patent filings that surfaced in September. Those patents showed not only an extendable cargo bed, but also built-in steps, ramps, and a split tailgate for pickups. They also featured a somewhat different mechanism for the bed extension, with floor sections that folded out accordion-style along with telescoping bed-wall panels.
Ford cargo bed extension system patent image
Another difference is that, in this latest patent filing, Ford specifically describes the example truck used in the accompanying drawings as “an electrified vehicle and, in particular, a battery electric vehicle.” Ford notes that a plug-in hybrid or “conventional vehicle” could be substituted, though.
Ford plans to launch a new electric pickup called the T3 in 2025. Unlike the current F-150 Lightning, it will be based on a dedicated EV platform.
Automakers often patent ideas that don’t make it to production, but the T3’s clean-sheet design could make it easier to incorporate new features like this extending cargo bed.


