Ford has filed a patent application for a burnout mode for electric cars, allowing EVs to smoke their front tires, rear tires, or all four.
First spotted by CarBuzz, a Ford application for an “electrified vehicle performance mode with intentional wheel spin for tire heating” was published by the United States Patent and Trademark Office (USPTO) on March 2, after being originally filed on Aug. 30, 2021.
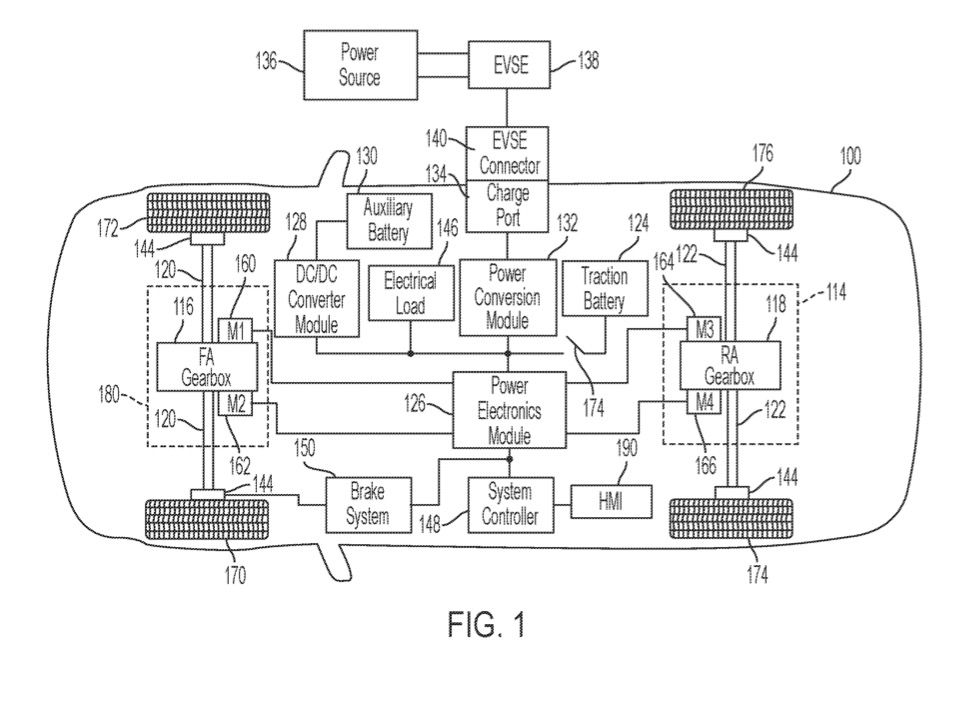
Ford EV burnout mode patent image
In the application, Ford discusses braking one axle while applying power to another to spin the tires to “provide a peel out and associated heating or smoking of the tires to improve traction and provide a visual display of power.” In other words, a burnout.
Using the brakes to hold a car in place while spinning the wheels sounds similar to the line-lock function previously seen on the Ford Mustang, but applied to all-wheel drive EVs with motors powering both axles. That means the burnout mode can be used with the front wheels or rear wheels. Accompanying sketches show smoke clouds rolling off each set of wheels. The car depicted is a Ford Mustang Mach-E, but that doesn’t mean this feature is destined for that model, as Ford hasn’t confirmed the burnout mode for production.
Ford EV burnout mode patent image
The application also mentions “a sequential maneuver that spins the tires of the first axle followed by the tires of the second axle,” potentially allowing for four-wheel burnouts. This would be activated by “specified manipulation of the brake pedal and accelerator pedal,” according to the application.
Ford has tried to show off the hooning potential of EVs with the Mustang Mach-E 1400, which can easily spin all four tires thanks to seven motors generating 1,400 hp. It’s unlikely that such a powertrain will end up in a road car, but this burnout mode seems like a more plausible way to up the fun factor of EVs customers can actually buy.


