Ford patent drawings for steering wheel with gear change buttons
Enlarge Photo
Sometimes, it’s better to let proven concepts remain. Case in point: a car’s gear selector.
New patent findings from the United States Patent and Trademark Office show Ford wants to reinvent the wheel (pun totally intended) with a peculiar steering wheel-mounted gearshift unit.
A patent drawing, discovered by the folks at Motor1, shows two gear selector paddles of sorts mounted on both sides of the steering wheel. The left paddle, marked “NPR,” is reserved for park, neutral, and reverse functions, while the right paddle, marked “D,” is reserved for the drive gear.
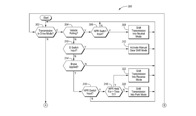
A schematic drawing shows the logic of the design. It reveals a potential nuance, too. In order to cycle back from reverse to park, the transmission must be placed in drive again.
Ford patent drawings for steering wheel with gear change buttons
Enlarge Photo
The patent was actually filed in 2015 and the design it depicts has yet to show up in any production or concept vehicle from the automaker. Given the unfortunate happenings Fiat Chrysler Automobiles has endured with its various transmission headaches, it’s unclear if Ford has any plans beyond protecting the design with the USPTO.
It follows news that Ford is also looking at placing biometric readers in its future vehicles.
Many automakers have moved to free up valuable real estate on the center console by relocating the gear selector to various areas. Ford’s luxury marque, Lincoln, has implemented its solution for some time with console-mounted buttons to the right of the driver. The latest GMC Terrain also moves the gear selector to buttons located at the bottom of the center stack.
Whether consumers take to the idea of pushing buttons to change gears remains to be seen.

