Ford is looking to patent new hardware for pickup truck beds.
According to a patent application published on April 20, 2023 (and originally filed Oct. 19, 2021), the Blue Oval is designing a pop-up bed rail system. Rails would be housed in the bed sides and raised up using actuators, according to the application.
Ford pop-up bed rail system patent image
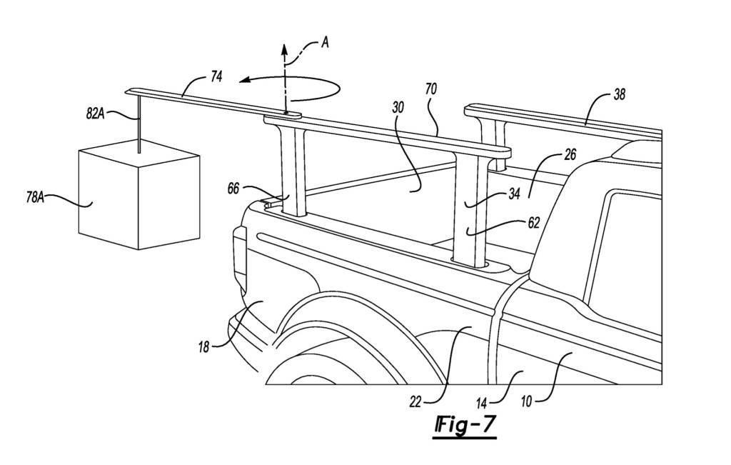
This kind of rail system offers a few possibilities, Ford says in the application. Rails could help secure taller cargo by stringing nets between them, and they seem like a good potential mounting point for rooftop tents or other accessories, as other automakers and aftermarket companies currently do with fixed bed-rail systems.
Ford also proposes using movable rails in some more unusual ways. The patent application describes using the rails to lift cargo from the ground to bed height with a pivoting attachment, a bit like an in-bed crane. A pair of pivoting crossbars could also support a cargo cover, which could be made flush with the top of the cab to improve airflow over the truck while still providing room for taller cargo.
Ford pop-up bed rail system patent image
This is just one of several truck-related Ford patent filings. So far this year patent applications have been seen for a pickup with a midgate and fold-flat seats, a bed cross-member system that could allow users to winch cargo into the bed, and a solid axle with hub motors that would be suitable for electric trucks.
Ford’s rivals have been getting creative, too. Rivian has tried to patent a new bed storage system, and General Motors recently trademarked the Multistow tailgate name, indicating a new tailgate design. Patent and trademark filings are not proof of production plans, however, so it’s hard to say which of these ideas—if any—will move beyond the patent stage.


