Ford is looking to patent a way to make wireless EV charging more effective.
Wireless charging systems already exist, albeit mostly in aftermarket form. However Ford’s patent application, which was published by the United States Patent and Trademark Office (USPTO) on June 1 (and originally filed on Nov. 30, 2021) details some potential improvements.
Ford wireless charging system patent image
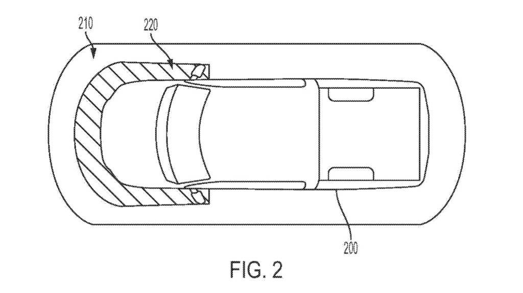
As Ford notes in the patent application, most wireless EV charging systems use electromagnetic fields that transfer energy from a power source to a receiver on the vehicle without a physical connection. This energy transfer can be interrupted if any objects—particularly those containing metal—are in close proximity to the charging hardware.
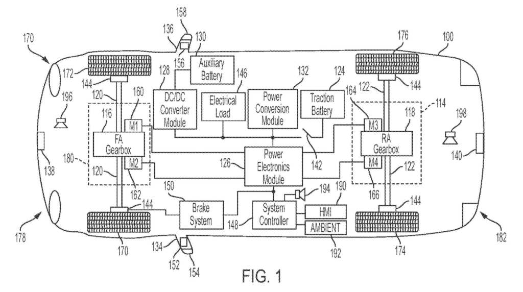
The solution outlined in the patent application is to use cameras to spot any objects that may interrupt charging, and warn the driver with flashing lights or noises. Such a solution could make use of cameras, lights, and speakers installed on a vehicle, which would be networked to the charger, Ford noted in the application.
Ford wireless charging system patent image
A warning system like this “may reduce or eliminate inadvertent triggering of an associated reduced power mode of shutdown of the charging system” if objects that could potentially block the transfers of energy between a wireless charger and receiver are detected, according to the application. But that may not be the main issue holding back wireless charging.
Eliminating bulky cables makes wireless charging more convenient, and WiTricity, one of the leading aftermarket wireless-charging companies, has said its tech can match the efficiency and power output of most AC plug-in charging hardware. The prohibiting factor to widespread adoption is cost—something Ford doesn’t address here.
