Automakers are always looking to one-up each other by increasing the towing capacity of their pickup trucks, which has led General Motors to contemplate a wild towing solution.
GM recently filed a patent application for a tow-assist device that boosts a vehicle’s towing capacity. Published by the United States Patent and Trademark Office (USPTO) on March 21, 2023, but originally filed Oct. 21, 2019, the application is for a “tow assist system” based around a wheeled booster unit that couples between the tow vehicle and trailer.
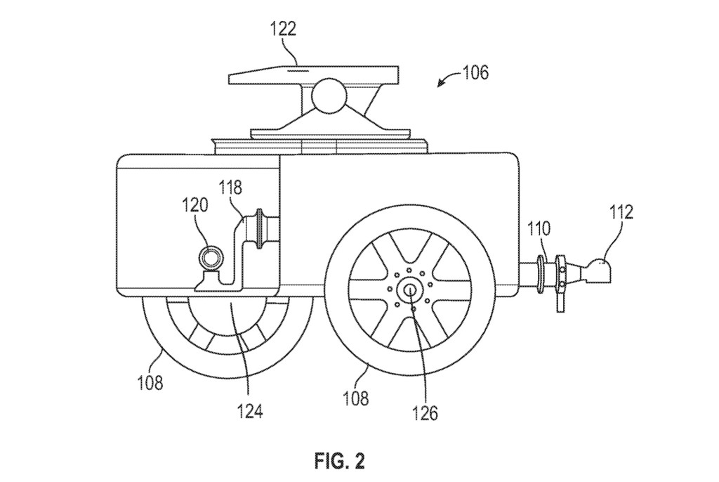
General Motors tow assist device patent image
The unit would have up to four wheels and hardware that allows it to couple with the hitches and a vehicle and trailer. Patent drawings also show a fifth-wheel attachment for towing those types of trailers. By turning its own wheels, the unit would supplement the tow vehicle, using onboard sensors to determine how much power to apply. It could also brake itself to assist with trailer braking, according to the patent application.
Electric motors would drive the tow-assist unit’s wheels, potentially with one motor per wheel to simulate a differential by altering the amount of power going to each wheel. Traction shouldn’t be a problem because the unit will carry most of a trailer’s tongue weight, GM notes in the patent application. The motors would be powered by an onboard battery pack, which could also be configured to help power a trailer, or even help charge the tow vehicle via bidirectional charging, which GM is starting to roll out in electric trucks like the GMC Hummer EV. GM didn’t say how much horsepower or torque the unit might produce.
General Motors tow assist device patent image
The tow assist device could also make hooking up to a trailer easier. It could move a trailer around by itself, or be guided using a handle, eliminating the need to reverse and line up with a hitch, the patent application states. While GM has not indicated production plans, this would give the automaker an answer to rival Ford’s driver-assist features for connecting a trailer.
An external unit like this gives drivers more flexibility, GM claims. It envisions customers using the device to tow heavier loads than their vehicles would otherwise be capable of. That eliminates the need to buy a certain vehicle just for occasional towing use, but it assumes drivers will be conscious of what they tow. Increasing towing capacity too much could put a load in a weight range that requires a CDL, regardless of what vehicle the driver is towing with.

